Монтаж карнизов потолочных. Как установить потолочный карниз: особенности монтажа карниза из пластика
- Монтаж карнизов потолочных. Как установить потолочный карниз: особенности монтажа карниза из пластика
- Установка потолочного карниза на натяжной потолок. Монтаж карниза на натяжной потолок
- Как соединить два потолочных карниза в один. Как удлинить потолочный карниз
- Установка потолочного карниза в нишу. Скрытый карниз для штор в натяжном потолке: особенности и монтаж
- Потолочный карниз на жидкие гвозди. Монтаж потолочного плинтуса.
- Видео установка потолочного карниза Utrawood видео инструкция
Монтаж карнизов потолочных. Как установить потолочный карниз: особенности монтажа карниза из пластика
Установка пластикового карниза отличается такими преимуществами:
- возможность скрытия в потолочном пространстве, таким образом, внешний вид комнаты становится более привлекательным;
- доступная стоимость;
- стойкость перед влагой и перепадами температуры;
- возможность монтажа на балконе, над кроватью, в лоджии и других труднодоступных местах;
- легкость и простота ухода за карнизами обеспечивает длительный срок их эксплуатации.
Кроме того, карниз из пластика способен выдержать вес более чем в 50 кг. Карнизы устанавливаются как вертикально, так и горизонтально. Пластиковый карниз устанавливается на любого рода поверхности. Он может иметь любую форму, даже волно- или зигзагообразную.
Потолочный карниз из пластика состоит из цельной профильной конструкции. Нижняя его часть имеет место для установки крючков. Кроме того, в комплектацию к карнизу входят элементы в виде:
- заглушек и стопорных механизмов;
- монтажных крепежей;
- поворотников.

С помощью разного рода заглушек удается ограничить движение штор по карнизу. Пластиковые крепежи нужны для того, чтобы монтировать карниз на потолок и зафиксировать его на нем. Различают два вида данных крепежей:
- видимые;
- невидимые.
Первый вариант актуален для карниза, у которых имеются декоративные элементы, а второй устанавливается в том случае, если карниз будет незаметен на общем фоне помещения.
С помощью поворотных элементов удается образовать угол наклона карниза в ту или иную сторону. На лицевой части карниза, при необходимости устанавливают элементы в виде реек и блендов.
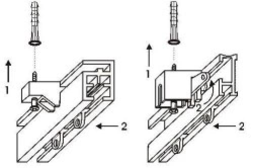
Установка потолочного карниза на натяжной потолок. Монтаж карниза на натяжной потолок
Потолочный карниз под натяжной потолок монтируют открытым или скрытым способом. Первый метод считается легким и универсальным, но более эстетично смотрится второй.
Открытый способ
Повесить карниз открытым методом считается задачей, не представляющей сложности даже для неподготовленного мастера. Потолочная пленка сама по себе не предназначена для крепления к ней тяжелых элементов, так как материал легко рвется и повреждается. Поэтому базу, на которую необходимо повесить консоль, располагают на потолке (затем ее перекроют пленкой).

Открытый монтаж
Работы по монтажу открытого карниза важно начать еще до момента крепления потолочного полотна.
- Для этого важно определиться с местом монтажа конструкциии в этом месте закрепить фиксирующий профиль для крепления полотна.
- Затем необходимо разметить линию под окном и заложить деревянные бруски. Важно обязательно обработать древесину специальными антисептиками еще до установки конструкции.
Это обезопасит от гниения древесины, вызванного нехваткой воздуха из-за плотности потолочного полотна. Лучше всего обработать брусья не менее 2 раз жидкостями, предназначенными для глубокого проникновения в поверхность.

- Самым ответственным моментом в процессе монтажа считается закрепление брусьев из дерева по линиям, размеченным под окном. На этом этапе целесообразно применить гидравлический уровень, не позволяющий базе крепления сместиться.
- После этого приступают к непосредственному креплению карниза. Если основа из дерева,для того чтобы прикрепить карниз к потолку, будет достаточно саморезов. Если карниз монтируется на кирпич или бетон, понадобятся дюбеля. Совет: необходимую жесткость соединение приобретает в том случае, если состоит из пластиковой пустышки и самореза с чуть меньшим сечением.
- После этого закрепляют поливинилхлоридную пленку. Делается это через полотно с помощью саморезов. При выполнении работ важно не повредить капризный и тонкий материал, а края пленки усилить кольцом из полимерного материала.

Рекомендация при монтаже: брус для крепления в идеале должен располагаться вплотную к полотну, для этого применяют специальные монтажные клинья. Это делается в том случае, если толщины бруса не хватает, так как он должен быть равным зазору между натяжным потолком и базовым.
После выполнения всех этапов происходит непосредственная установка потолочного карниза на натяжной потолок.
Скрытый способ

Скрытое крепление
Крепить потолочный карниз к натяжному потолку в скрытые пазы тяжело, но вполне возможно. Такой метод монтажа создает иллюзию струящейся ткани, придает атмосфере воздушности.Работа считается сложной и требующей внимания и навыков, зато в итоге заказчик получает гармоничную текстильную композицию, в которой ткань будто плавно «стекает» с потолка.
Этапы монтажа обязательно выполняются до того, как потолочный карниз для натяжных потолков окончательно закреплен.
Работа начинается с монтажа потолочной планки к потолку с помощью дюбелей (с гильзами из металла или пластика). Возле нее (на расстоянии нескольких миллиметров) монтируют базу из металла или деревянных брусьев, служащую основой для крепления потолочного профиля. Ни в коем случае нельзя упускать из виду момент с предварительной обработкой дерева антисептиком.

Другими словами, чтобы повесить шторы на потолочный карниз скрытым методом, надо закрепить изделие непосредственно в капитальном потолке, а пленку зафиксировать в специальной нише перед консолью.Важно: профиль крепят со стороны консоли. Это позволяет сделать ее незаметной, так как потолочное полотно перекрывает брусок.
Дизайнеры утверждают, что повесить карниз для штор скрытым методом целесообразно в случае с глянцевым потолочным полотном: получается легкая и эстетичная композиция.
Как соединить два потолочных карниза в один. Как удлинить потолочный карниз
Потолочный карниз – все о конструкции, сборке и установке
В этой статье мы расскажем вам, как собрать потолочный карниз, подогнать его по размеру и установить на место. А также о том, как его выбирать и декорировать. Владея этой информацией, вы без труда решите эту задачу от начала и до конца.

Монтаж карниза на потолок – одно из самых предпочтительных решений
Элементы конструкции
Конструкция потолочного карниза со сквозным креплением предельно проста и состоит из нескольких элементов. Часть из них входит в стандартный комплект, а некоторые являются дополнительными и приобретаются по необходимости.
- Шина. Это пластиковый или металлический профиль с полозьями для передвижения фиксирующих крючков для шторных полотен. Он может иметь разные размеры – ширина потолочного карниза зависит от количества полозьев (рабочих дорожек), а длина стандартная (2; 2,5; 3 м и т.д.).

Трехрядная профильная шина
Совет. Количество рабочих дорожек должно соответствовать количеству слоев штор.
Но ламбрекены можно крепить и на переднюю плоскость карниза с помощью специальной липучки.
- Крючки – держатели для штор с ножкой и основанием, не позволяющим им выпадать из полозьев. После соединения с полотном плотно защелкиваются, что позволяет оставлять их на месте даже при стирке.
Фото пластиковых крючков
- Заглушки и стопоры служат для ограничения движения крючков и предотвращают их выпадение на концах шины.

Винтовые стопоры устанавливаются в любой точке дорожки
К дополнительным элементам относятся соединители, повороты, декоративные бленды и кронштейны.
- Соединители нужны для наращивания длины. Например, собрать потолочный карниз на 4 метра можно из двух двухметровых шин.
- Повороты позволяют менять конфигурацию профиля – делать его с закругленными концами или ломаным в плане.
- Бленды – это цветные пластиковые ленты, защелкивающиеся на передней плоскости карниза. Нужны для декорирования открыто расположенной конструкции.

Поворот и шина должны быть одной ширины и конструкции профиля
Если же вам нужно нарастить длину, используйте соединители с такими же замками, как на картинке выше. А уменьшить её можно, просто отпилив лишнее ножовкой по металлу в строго перпендикулярном к продольной оси направлении.
Расскажем для примера, как укоротить потолочный карниз с поворотом.
- Измерьте длину собранного карниза с поворотами;
- Вычтите из неё желаемую длину;
- Разберите конструкцию и отпилите от шины отрезок, равный полученной разнице;
- Вновь произведите сборку и контрольный замер;
- Если предусмотрена бленда, она протягивается по профилю до совмещения торцов, а лишнее на другом конце отпиливается ножовкой.

Крепление к потолку
Для монтажа в бетонный потолок вам понадобятся перфоратор, молоток, шуруповерт и дюбель-гвозди, для деревянного – только шуруповерт и саморезы.
В потолочных шинах, как правило, уже имеются монтажные отверстия. Если нет, то просверлите их своими руками, делая расстояние между ними около 60 см. Шаг большей длины может привести вот к таким последствиям:

Под тяжестью плотных штор карниз провисает
Обратите внимание!
Монтажные отверстия в трех- и четырехполосной шине делаются в два ряда в шахматном порядке.
Дальнейшие ваши действия описаны в таблице.
| Этапы монтажа | Ваши действия |
| Разметка линии | Наметьте линию крепления. Она должна быть параллельна стене и отстоять от неё на такое расстояние, чтобы первый ряд штор не задевал подоконник, батареи отопления и оконные ручки. |
| Примерка | Примерьте карниз, чтобы убедиться в правильности разметки. Установите его симметрично оконному проему или в соответствии с тем, как он должен быть закреплен в итоге. |
| Разметка крепежа | Удерживая шину в неподвижном положении, сквозь монтажные отверстия в ней сделайте карандашом метки на потолке. |
| Монтаж | Просверлите в намеченных точках отверстия по диаметру и длине дюбелей, забейте их на места. Поднимите потолочный карниз, совместив отверстия в нем с дюбелями, и прикрутите его шурупами. |
В случае с деревянным потолком ничего сверлить не придется – карниз просто фиксируется саморезами.
Заключение
Мы уже не раз писали, как крепить потолочный карниз и потолочный плинтус. При желании вы сможете найти на сайте более развернутые и подробные описания монтажа или посмотреть
Как произвести монтаж потолочного карниза своими силами?
Для полноты и красоты интерьера в вашем доме можно и не делать капитальный ремонт. Добавить комнате новых ярких красок может небольшое дополнение или некая деталь в виде новых штор. Чтобы закрепить тюль и шторы прямо от потолка, следует произвести монтаж потолочного карниза. Это не только прекрасное решение для интерьера, но и выгодное по своей практичности и экономичности.

Комплектующие части потолочного карниза.
Как выбрать подходящий карниз
Задавшись вопросом установки потолочного карниза, вы найдет огромный выбор разных видов карнизов, которые имеют определенные отличия по дизайну и материалу изготовления.

Установка потолочного карниза в нишу. Скрытый карниз для штор в натяжном потолке: особенности и монтаж
Скрытый карниз представляет собой один из вариантов установки карниза, который является своеобразной шиной, крепящейся к потолку и размещенной в специально оборудованной нише, которая образуется между стеной и натяжным потолком. Полученное углубление практически незаметно даже тогда, когда стоишь прямо под ним. В связи с конструктивными особенностями скрытого карниза, создается нестандартное дизайнерское решение, когда шторы практически «парят» в воздухе, что особенно актуально для невысоких помещений, так как шторы зрительно увеличивают высоту потолка.


Особенности монтажа скрытого карниза для штор в натяжном потолке:
На расстоянии 20 см от стены, в которой располагается оконный проем, к основанию бетонной потолочной плиты крепят мебельный уголок, к которому впоследствии по всей длине монтируют деревянный брус. Определяют середину бруса и в этом месте закрепляют стеновой багет, что необходимо для того, чтобы потолочная пленка обтягивала и, как следствие, скрывала неприглядную конструкцию, состоящую из бруса и мебельного уголка. Определяют центр образовавшейся ниши и в этом месте закрепляют скрытый карниз.
Важно! Декоративное оформление скрытого карниза в натяжном потолке не имеет никакого значения, так как он будет полностью скрыт от посторонних взглядов. Главное требование, предъявляемое к данному элементу – надежность крепления штор, легкость, подвижность и плавность движения колец и крючков на карнизе.

Важно! Разнообразить дизайн интерьера своего помещения или осуществить грамотное зонирование пространства вы сможете, установив в потолочную нишу, где располагается скрытый карниз, дополнительную светодиодную подсветку. Наиболее оптимально с задачей разделения пространства на функциональные зоны справится диодная лента, дающая яркое освещение и при этом потребляющая небольшое количество электроэнергии.

Потолочный карниз на жидкие гвозди. Монтаж потолочного плинтуса.
Если вы уже делаете или собираетесь делать ремонт, вам необходимо знать каким способом клеить потолочный плинтус (карниз). Существует несколько разных способов клеить потолочный плинтус (карниз) из пенопласта. Способы совершенно разные, но каждый из них обязательно пригодится. Перед тем как клеить потолочный плинтус нам необходимо научиться его отрезать (стыковать в углах).
Отрезаем, стыкуем в углах потолочный плинтус.
Подготовим инструмент: канцелярский нож, карандаш. Отрезная угловая пила (ручная либо электрическая) понадобится для массивных
плинтусов высотой от ста миллиметров, либо полиуретановых. Полиуретановые потолочные плинтуса очень дорого стоят, и не
каждый захочет на них тратиться. Пользоваться ручным стуслом бесполезно,
потому что оно даёт большую погрешность плинтусу в
месте среза. Упираем потолочный плинтус (карниз) в угол, одновременно прижимая его к потолку и стене. Из угла по стене и
потолку обводим потолочный плинтус.


Длина линий должна быть немного больше высоты, ширины плинтуса в разрезе. Затем упираем плинтус торцом в тот-же угол, но прижимаем его к другой стене. Так-же обводим карандашом по потолку. На потолке получился крестик, делящий угол пополам.

Теперь перенесём метки на оба плинтуса, прижав их к тем-же линиям.


Отрезаем потолочный плинтус (карниз). Я режу потолочный плинтус прижав его рукой к плоскости.


Если у вас недостаточно опыта рекомендую сделать упор. Нам понадобится небольшая плоская доска, кусок бруса, два самореза по дереву, свёрла. Возьмём кусок ламинированной дерево-плиты длиной 400 мм., шириной 300 мм. Отрежу от неё часть шириной 50 мм., длиной 200 мм. вместо бруса. Прикручу эту часть приблизительно по центру, предварительно просверлю. Упор готов.

Померим высоту плинтуса в сечении. (Размеры потолочного плинтуса (карниза) почти всегда указываются с обратной стороны).

Отмерим этот размер, проведём линию карандашом на той части упора, размер которой составляет 50x200 мм.

Прикладываем потолочный плинтус к упору. Отрезаем угол по ризке, которую перенесли с потолка на плинтус ранее.

Проделываем туже операцию с другим плинтусом. Проверяем совпадение углов, клеим плинтуса.
Как клеить потолочный плинтус из пенопласта под покраску.
Пользуйтесь данным способом если собираетесь сделать новый, покрашенный водоэмульсионной краской потолок, клеить новые обои или красить стены. Перед тем как клеить потолочный плинтус (карниз) из пенопласта вам необходимо шпаклевать, затем шкурить стены, потолок. Другими словами подготовить поверхности полностью к покраске и оклейке обоями. Из инструментов нам понадобятся шпатель шириной сто миллиметров, кисть шириной от двадцати до сорока миллиметров, маленькая баночка с водой, карандаш, миксер, дрель. Подготовив плинтуса к первому углу приготовим клей. Нам понадобится немного минеральной финишной шпаклёвки "sheetrock" (гипсовые шпаклёвки использовать нельзя), немного клея "ПВА". На периметр одного потолка требуется приблизительно 500 мл. раствора. Добавляем в шпаклёвку клей, размешиваем, доводим до состояния жидкой сметаны (приблизительная пропорция 0.5л. шпаклёвки # 0.2л. клея). Нанесём шпаклёвку на потолочный плинтус шпателем по приклеиваемой плоскости слоем от двух миллиметров.