Изготовление печей для бани. Отличия печей из металла для бани и сауны
- Изготовление печей для бани. Отличия печей из металла для бани и сауны
- Изготовление печей для бани из металла, как бизнес. Чертежи печи для бани из металла
- Изготовление печей для бани из металла. Печь для бани из металла: требования, виды, технология сборки своими руками
- Видео изготовление печи для своей бани своими руками.
Изготовление печей для бани. Отличия печей из металла для бани и сауны
Парилки в бане и сауне значительно отличаются между собой. Сауна сопровождается высокой температурой – свыше 85 ºС. Такие показатели делают невозможным сильно увеличивать еще и влажность, так как неминуемо получение ожогов кожи. При этом веник в таких условиях осыпается всего за 5 минут. Поэтому влажность доводят до 5-15 %. Русская баня отличается температурой в районе 55-65 ºС, что дает возможность поднять относительную влажность до 50-60%.
Для создания тех или иных условий в парной используются разные печи, а также применяются разные подходы к их установке. Если обустраивается сауна, то понадобится соблюсти максимальную площадь контакта корпуса печи с воздухом и обеспечить быструю циркуляцию воздушных потоков вдоль стенок. Достаточно часто походная баня с печкой делается самостоятельно.

Все сводится к тому, чтобы нагреть воздух в парилке как можно скорее. Небольшая открытая каменка, располагаясь над топкой, способна прогреть камни до 200-250 ºС. Она дает возможность получить немного пара – как правило, для сауны этого достаточно, потому что нужно добиться всего 15 % влажности.
В русской бане микроклимат создается иной – достигаются небольшие температуры, и вырабатывается много пара. При этом он должен состоять из очень мелких капелек, разогретых до 130-150 ºС – такой пар называют «сухим». Подобный микроклимат придает телу легкости и сил. «Сухой» пар можно получить лишь раскалив камни до значений более 500 ºС . Для достижения таких показателей камни складывают в топку, то есть в закрытую каменку. Печи для бани с закрытой каменкой достаточно эффективны.
Изготовление печей для бани из металла, как бизнес. Чертежи печи для бани из металла
Что самое главное в бане — конечно же печь. Существует множество готовых решений печей, которые можно купить в магазине, но в этой статье мы рассмотрим чертежи для самостоятельного изготовления печей из металла.

Печь для бани из металла своими руками
Этапы изготовления
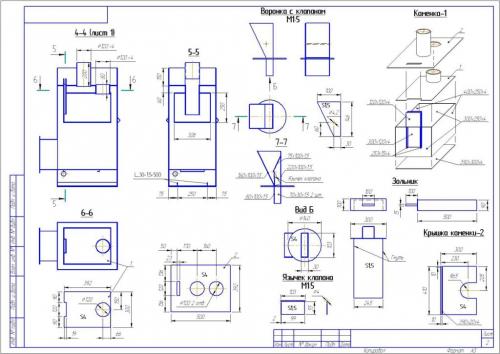
Чертежей печи для бани достаточно много и каждый из них имеет свою функциональность. Начнем с топки для печи.
- Топка — первое что нужно сделать. Размеры топки вы определяете самостоятельно, исходя из размеров вашей парной.
Главное помнить, что ширина и высота топки должны быть одинаковы. - На некоторых чертежах печей из металла вы можете увидеть готовые решения, которые можно купить в магазине ,а не вырезать и варить самостоятельно. Например, дверцы, решетки, ручки и так далее. Вы сэкономите массу времени, если приобретете их в магазине.
- Почти на всех чертежах топка состоит из 2 частей. В одной части горят дрова, а другая предназначена для сбора золы и также выполняет функцию поддувала.
- Если на верхнюю часть топки будут ложиться камни, то ее следует сделать из решетки. Можно сделать декоративную решетку для красоты.

Важно! Если Вы решили сварить печь для бани самостоятельно — отнеситесь с особым вниманием к толщине металла. Металл должен быть не менее 5 мм, чтобы при нагревании его не повело.

Подробный чертеж печи для бани из металла
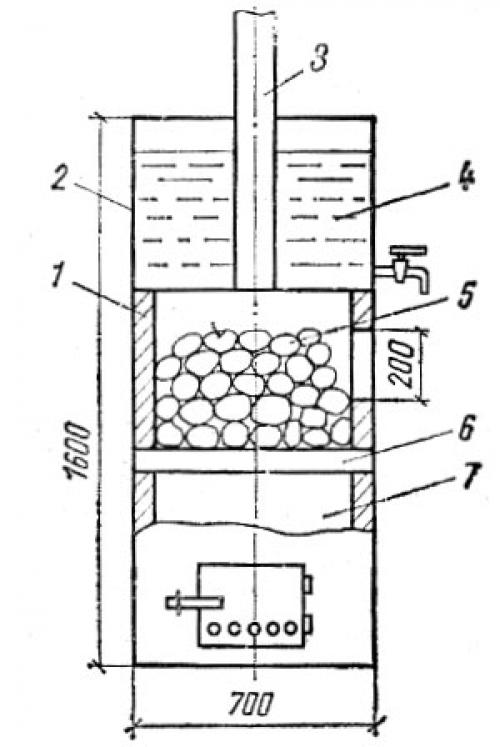
Бак для воды и место для камней
- Сразу над топкой делается емкость для засыпки камней.
- На некоторых чертежах емкость является открытой и вода поливается на камни сверху.
- На других чертежах печей можно встретить емкость для камней с дверцей, которую необходимо открывать для полива воды на камни. Так камни быстрее прогреваются в закрытой емкости и дольше сохраняют тепло.
- В каменке используются специальные камни для бани. Можно конечно использовать обычные речные, но эффект будет не тот.
- Над каменкой устанавливается бак с водой. Через него также должна проходить труба, которая будет подогревать воду.
- В бак с водой можно вмонтировать кран для набора горячей воды.
Также не забудьте про то, что через каменку должен проходить дымоход.

Печь с открытой каменкой

Чертеж печи из металла с каменкой и баком для воды
Трубу также необходимо изготавливать из трубы с большой толщиной металла. Так она не сразу прогорит и будет служить вам долго.

Печь для бани с трубой, проходящей через каменку и водяной бак
Дымоход
Также на чертеже печи для бани необходимо указать место, где дымоход будет проходить через крышу. Это место необходимо тщательно изолировать, так как воздух, проходящий через трубу очень горячий.

Дымоход для бани
Для изоляции дымохода от крыши лучше приобрести готовые решения, которые продаются в специализированных магазинах для бани.
Таким образом сделать печь для бани по чертежам самому не так уж и сложно. К тому же в магазинах продается много готовых решений (решетки, дверцы, баки, трубы, дымоходы, изоляция дымохода), применяя которые соорудить печь будет еще проще.
Изготовление печей для бани из металла. Печь для бани из металла: требования, виды, технология сборки своими руками
Эргономичные металлические печи являются отличной альтернативой громоздким кирпичным каменкам, которые подходят для обогрева частной бани.
Устройства отличаются быстрым нагревом, высокой теплопроводностью, простотой монтажа, минимальным уходом и долговечностью. А при желании простую печь из металла, которая бы полностью соответствовала всем потребностям владельца, можно сконструировать самостоятельно из подручных средств.
Основные требования к металлическим печам
К современным конструкциям металлических банных печей предъявляются высокие технические и эксплуатационные требования, к которым относят следующее:
- Широкий функционал . Возможность выбора различных температурных режимов для быстрого нагрева воздуха и поддержания оптимального микроклимата в помещениях.
- Высокий КПД . Эффективное использование топливного материала с возможностью длительной аккумуляции тепла. При этом увеличение объема топки обеспечивает полное сгорание топлива и повышение КПД.
- Эргономичность . Железные каменки должны оставаться компактными, чтобы занимать небольшую площадь помещения. В малогабаритных парных рациональнее устанавливать вертикальный тип конструкции с топкой, вынесенной в техническое помещение.
- Пожарная безопасность . Отопительное оборудование должно быть безопасным для посетителей и помещения. Чтобы избежать ожогов и травматизма, корпус устройства закрывается металлическим конвекционным кожухом, а поверхности вблизи печи обшиваются жаропрочным материалом.
- Комплектация . Более совершенные модели устройств могут комплектоваться водонагревателями, которые обеспечивают горячее водоснабжение в бане.
- Эстетичность . Металлические каменки могут иметь различные варианты исполнений с оформлением коваными и стеклянными декоративными элементами.