Печи металлические для бани. Металлические печи для бани: как изготовить и установить, какие материалы использовать
- Печи металлические для бани. Металлические печи для бани: как изготовить и установить, какие материалы использовать
- Колпаковая печь для бани из металла. Какие виды колпаковых печей бывают
- Печь для бани из кирпича и металла. Кирпичные печи для бани: виды, преимущества и недостатки
- Чертеж печи для сауны. Чертежи печи для бани из металла
- Видео ПЕЧЬ ДЛЯ БАНИ НА ДРОВАХ КАК ВЫБРАТЬ
Печи металлические для бани. Металлические печи для бани: как изготовить и установить, какие материалы использовать

Фото с сайта 9ban.ru
По сравнению с каменной, железная печь отличается высокой теплоотдачей и быстро нагревает помещение.
Железную печь для бани можно купить специализированном магазине, а можно сделать из подручного металла своими руками.
Читайте нашу статью и узнайте, как сделать металлическую банную печь своими руками.
Преимущества печи для бани из нержавейки
- Масса конструкции. Каменные печи сложены из тяжелых кирпичей, поэтому нагреваются и остывают очень долго. Железные – легкие, поэтому нагреть помещение до нужной температуры с ней можно быстро.
- Компактные размеры. Даже для совсем небольшой парилки можно сделать хорошую железную печь, которая будет быстро нагревать помещение.
Особенности конструкции и материалов такого нагревательного элемента требуют соблюдения нескольких условий эксплуатации, позволяющих обеспечить высокую температуру в помещении и просушить его.
Во-первых, необходимо правильно подобрать дрова. Они должны гореть как можно дольше.
Во-вторых, при нагреве металла до температуры 150 градусов, он начинает деформироваться, а при температуре 900 градусов – становится ярко-красного цвета и теряет прочность. При такой температуре сварные швы начинают расходиться, и срок эксплуатации сильно сокращается.
Как сделать железную печь для бани своими руками
Вариантов исполнения таких печек несколько. Они различаются по форме и материалу. Нередко для их изготовления применяют подручные материалы.
Печь для бани своими руками из трубы
Это самый простой и дешевый способ обогреть свою парилку. Такая конструкция подходит для небольших помещений и по эффективности не уступает промышленным аналогам. Еще одно преимущество печки из трубы – герметичность, благодаря которой в помещение не поступает угарный газ.
фото с сайта http://nizhnij-novgorod.buyreklama.com
Чтобы сделать её своими руками следуйте нашей пошаговой инструкции.
- Для изготовления понадобится железная труба длиной от 150 см и с толщиной стенок от 1 см. Её разрезают на 2 части – длина которых составляет 90 и 60 см.
- Вырезаем поддувало. В большом отрезке снизу вырезаем прямоугольник с размерами 5-6 см на 18-20 см. Поддувало будет служить еще и зольником.
- Изготовление стальной пластины. Круглую пластину толщиной 1,2 см приваривают над поддувалом. Её диаметр должен соответствовать диаметру используемой трубы. В середине пластины вырезают отверстие под колосник, который проще будет купить в магазине.
- Изготовление топочной камеры. В этом же куске вырезают отверстие для топки. Оно должно иметь размеры 30х25 см. На отверстие навешивают металлическую дверцу и приваривают защелку.
- Установка отсекателя. Он предназначен для улучшения движения дыма по трубе. Отсекатель должен быть прямоугольной формы со срезанными углами. Его приваривают внутрь, так чтобы между листом и стенками трубы оставались зазоры.
- Установка днища каменки. На расстоянии 7-10 см выше отсекателя приваривают решетку из арматуры. Возле решетки вырезают отверстие и устанавливают дверцу.
- Заваривание трубы. Корпус сверху закрывают стальным листом и приваривают. В листе прорезают круглое отверстие для дымохода.
- Изготовление бака для воды. Меньший кусок используют, чтобы сделать емкость для воды. К нему приваривают дно и трубу, которая пройдет вертикально через бак. Она должна выступать из емкости на 3-4 см.
- Крышка для бака. Крышку для бака вызерают круглой формы и разрезают пополам. Одну часть приваривают, а вторую оставляют, чтобы закрывать емкость.
- В нижней части емкости вваривают кран для слива воды.
Колпаковая печь для бани из металла. Какие виды колпаковых печей бывают
Безусловно, у изобретателя колпаковой печи были свои видения сооружения данной конструкции. Однако прогресс не стоит на месте. И данную технологию уже во всю использую по всему свету. Благодаря современным технологиям можно за короткий промежуток времени создать уникальную модель печи, функциональность которой в разы лучше традиционной русской.

колпаковая печь с камерой для выпечки хлеба
Последователи, прорабатывая процесс возведения, совершенствуют проекты, добавляя что-то новенькое. На самом деле видов колпаковой печи очень много, каждый из которых отличается и геометрическими размерами, и стилистическим направлением, и функциональностью. Несмотря на присутствие в каждом проекте каких-либо инновационных идей, общий принцип возведения подобной печи остается неизменным.
Возводить колпаковые печи можно практически в любом помещении. Это могут быть и жилые дома, и квартирные апартаменты, и хозяйственные постройки, и банные сооружения. Например, колпаковая печь для бани является прекрасной альтернативой обычной печи.

Печь колпаковая — Кузнецова
Оборудуя печь Кузнецова в бане, вы решите сразу несколько проблем. Растопив данную конструкцию, вы сможете обогреть сразу несколько помещений: комнату отдыха, парилку и мойку, поскольку помимо функции отопления на печи можно нагреть воду и параллельно создать необходимое количество пара.
При возведении печи с определенной периодичностью используют продукцию металлургического производства. Поэтому важно подбирать очень качественные расходные материалы. Это убережет вас от всевозможных замен в процессе дальнейшей эксплуатации.
Формы могут быть самые разные, в том числе и закругленные. Конечно же, подобные конструкции имеют ряд преимуществ. Однако, при эксплуатации в быту они не очень удобны.

Банная колпаковая печь
Те, кто оборудовал в доме двухколпаковое печное отопление, уже оценили по достоинству функциональную способность такой установки.
Возведение такой конструкции требует более тщательной проработки проекта, поскольку следует оптимально организовать систему по сжиганию сырьевого топлива.
Важно поддерживать нужную температуру в печи, чтобы образовавшиеся газы после завершения процесса горения не трансформировались во вредоносные для печей смоляные и сажевые отходы.
Как уже оговаривалось выше, колпаковые печи используются не только в жилых домах, но и на производственных предприятиях. Безусловно, конструкции таких печей отличаются друг от друга, но принцип действия остается неизменным. Особой популярностью колпаковые печи пользуются в металлообрабатывающем производстве для нагрева изделий.
Печь для бани из кирпича и металла. Кирпичные печи для бани: виды, преимущества и недостатки

Редко кто может усомниться в пользе банных процедур, а попариться в собственной баньке мечтают многие.
Построить кирпичную печь для бани по силам не только опытным печникам, но и начинающим мастерам. Следуя инструкциям и рекомендациям, можно построить баню у себя на участке и создать не только комфортное место для отдыха, но и соорудить целый архитектурный шедевр.
Особенности
Ничто не дает такого приятного тепла, комфортной атмосферы, легкого дыхания, как нахождение в бане с кирпичной печью. Чтобы построенная своими руками печь получилась на должном уровне, необходимо четко выполнять все инструкции. Даже при наличии небольших навыков в строительстве можно сделать отличную топочную для бани.
Прежде всего необходимо определиться, какой вариант печи более подходит для конкретного помещения.
Рассмотрим варианты истопки кирпичной печи для бани:
- По черному . Такие печи пользовались особой популярностью в деревнях на протяжении многих лет. Особенность данной конструкции заключается в том, что здесь отсутствует дымоход, поэтому пара и аромата в помещении будет предостаточно. Недостатком данного варианта можно назвать то, что необходимо ждать, пока топливо полностью прогорит.
- По серому . Данный вариант более экономичный. Печь имеет дымоход, поэтому помещение прогревается быстрее. Как у предыдущего варианта, здесь есть недостаток: необходимо ждать, пока полностью не сгорят дрова.
- По белому . Данный вариант можно назвать наиболее достойным, так как при его использовании в помещении не будет следов сажи, а в комнате долгое время будет сохраняться тепло. Но на прогревание такой печи уходит много времени, что не всегда удобно для использования.
- С плитой . Такой вариант для бани можно считать наиболее удачным. Конструкция состоит из бака, который устанавливают на плите из чугуна, банных камней. Бак закрыт с 3 сторон кирпичной стеной, за счет этого долгое время температура воды остается высокой. Чаще бак устанавливают поверх топки, а над дымоходом выкладывают камни, но иногда как бак, так и камни могут располагаться в ином порядке.
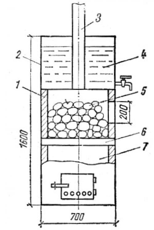
Чертеж печи для сауны. Чертежи печи для бани из металла
Что самое главное в бане — конечно же печь. Существует множество готовых решений печей, которые можно купить в магазине, но в этой статье мы рассмотрим чертежи для самостоятельного изготовления печей из металла.

Печь для бани из металла своими руками
Этапы изготовления
Чертежей печи для бани достаточно много и каждый из них имеет свою функциональность. Начнем с топки для печи.
- Топка — первое что нужно сделать. Размеры топки вы определяете самостоятельно, исходя из размеров вашей парной.
Главное помнить, что ширина и высота топки должны быть одинаковы. - На некоторых чертежах печей из металла вы можете увидеть готовые решения, которые можно купить в магазине ,а не вырезать и варить самостоятельно. Например, дверцы, решетки, ручки и так далее. Вы сэкономите массу времени, если приобретете их в магазине.
- Почти на всех чертежах топка состоит из 2 частей. В одной части горят дрова, а другая предназначена для сбора золы и также выполняет функцию поддувала.
- Если на верхнюю часть топки будут ложиться камни, то ее следует сделать из решетки. Можно сделать декоративную решетку для красоты.

Важно! Если Вы решили сварить печь для бани самостоятельно — отнеситесь с особым вниманием к толщине металла. Металл должен быть не менее 5 мм, чтобы при нагревании его не повело.

Подробный чертеж печи для бани из металла
Бак для воды и место для камней
- Сразу над топкой делается емкость для засыпки камней.
- На некоторых чертежах емкость является открытой и вода поливается на камни сверху.
- На других чертежах печей можно встретить емкость для камней с дверцей, которую необходимо открывать для полива воды на камни. Так камни быстрее прогреваются в закрытой емкости и дольше сохраняют тепло.
- В каменке используются специальные камни для бани. Можно конечно использовать обычные речные, но эффект будет не тот.
- Над каменкой устанавливается бак с водой. Через него также должна проходить труба, которая будет подогревать воду.
- В бак с водой можно вмонтировать кран для набора горячей воды.
Также не забудьте про то, что через каменку должен проходить дымоход.

Печь с открытой каменкой

Чертеж печи из металла с каменкой и баком для воды
Трубу также необходимо изготавливать из трубы с большой толщиной металла. Так она не сразу прогорит и будет служить вам долго.

Печь для бани с трубой, проходящей через каменку и водяной бак
Дымоход
Также на чертеже печи для бани необходимо указать место, где дымоход будет проходить через крышу. Это место необходимо тщательно изолировать, так как воздух, проходящий через трубу очень горячий.

Дымоход для бани
Для изоляции дымохода от крыши лучше приобрести готовые решения, которые продаются в специализированных магазинах для бани.
Таким образом сделать печь для бани по чертежам самому не так уж и сложно. К тому же в магазинах продается много готовых решений (решетки, дверцы, баки, трубы, дымоходы, изоляция дымохода), применяя которые соорудить печь будет еще проще.